別表第2 (第3条関係)

(昭37総府建令1・昭38総府建令1・昭38総府建令2・昭39総府建令1・昭40総府建令1・昭42総府建令2・昭44総府建令2、昭45総府建令1・昭46総府建令1・昭50総府建令1・昭53総府建令1・昭60総府建令1・昭61総府建令1・昭61総府建令2・平元総府建令1・平2総府建令1・平4総府建令1・平4総府建令2・平7総府建令1・平7総府建令2・平7総府建令3・平8総府建令1・平9総府建令1・平10総府建令1・一部改正)


目次
  案内標識
  警戒標識
  規制標識
  指示標識
  補助標識
  備考


案内標識

柱の規格 市町村(101) 都府県(102-A)

 

 
都府県(102-B) 入口の方向(103-A)

 
 

 
 
入口の方向(103-B) 入口の予告(104)

 
 

 
 
方面、方向及び距離
(105-A)
方面、方向及び距離
(105-B)
方面、方向及び距離
(105-C)

 
 

 
 

 
 
方面及び距離
(106-A)
方面及び距離
(106-B)
方面及び距離
(106-C)

 
 

 
 

 
 
方面及び車線
(107-A)
方面及び車線
(107-B)
方面及び方向の予告
(108-A)

 
 

 
 

 
 
方面及び方向の予告
(108-B)
方面及び方向
(108の2-A)
方面及び方向
(108の2-B)

 

 
 

 
 

 

 
 
方面及び方向
(108の2-C)
方面及び方向
(108の2-D)
方面及び方向
(108の2-E)

 
 

 
 

 
 
方面、方向及び道路の
通称名の予告(108の3)
方面、方向及び道路の通称名
(108の4)
出口の予告
(109)

 
 

 
 

 
 
方面及び出口の予告
(110-A)
方面及び出口の予告
(110-B)
方面、車線及び出口の予告
(111-A)

 
 

 
 

 
 
方面、車線及び出口の予告
(111-B)
方面及び出口
(112-A)
方面及び出口
(112-B)

 
 

 
 

 
 
出口
(113-A)
出口
(113-B)
著名地点
(114-A)

 
 

 
 

 

 
 
著名地点
(114-B)
著名地点
(114-C)
主要地点
(114の2-A)

 
 

 
 

 
 
主要地点
(114の2-B)
料金徴収所
(115)
サービス・エリアの予告
(116-A)

 
 

 
 

 
 
サービス・エリアの予告
(116-A)
サービス・エリアの予告
(116-B)
サービス・エリアの予告
(116の2-A)

 
 

 
 

 
 
サービス・エリア
(116の2-A)
サービス・エリア
(116の2-B)
非常電話
(116の2)

 
 

 
 

 
 
待避所
(116の3)
非常駐車帯
(116の4)
駐車場
(117-A)

 
 

 
 

 
 
駐車場
(117-B)
登坂車線
(117の2-A)
登坂車線
(117の2-B)

 
 

 
 

 
 
国道番号
(118-A)
国道番号
(118-B)
国道番号
(118-C)

 
 

 
 

 
 
都道府県道番号
(118の2-A)
都道府県道番号
(118の2-B)
都道府県道番号
(118の2-C)

 
 

 
 

 
 
総重量限度緩和指定道路
(118の3-A)
総重量限度緩和指定道路
(118の3-B)
道路の通称名
(119-A)

 
 

 
 

 
 
道路の通称名
(119-B)
道路の通称名
(119-C)
道路の通称名
(119-D)

 
 

 
 

 
 
まわり道
(120-A)
まわり道
(120-B)


 
 

 
 



警戒標識

本標識板及び柱の規格 ╋形道路交差点あり
(201-A)
┣形(又は┫形)道路交差点あり
(201-B)

 
 

 
 
┳形道路交差点あり
(201-C)
Y形道路交差点あり
(201-D)

 
 

 
 
ロータリーあり
(201の2)
右(又は左)方屈曲あり
(202)

 
 

 
 
右(又は左)方屈折あり
(203)
右(又は左)背向屈曲あり
(204)
右(又は左)背向屈折あり
(205)

 
 

 
 

 
 
右(又は左)つづら折りあり
(206)
踏切あり
(207-A)
踏切あり
(207-B)

 
 

 
 

 
 
学校、幼稚園、保育所等あり
(208)
信号機あり
(208の2)
すべりやすい
(209)

 
 

 
 

 
 
落石のおそれあり
(209の2)
路面凹凸あり
(209の3)
合流交通あり
(210)

 
 

 
 

 
 
車線数減少
(211)
幅員減少
(212)
二方向交通
(212の2)

 
 

 
 

 
 
上り急勾配あり
(212の3)
下り急勾配あり
(212の4)
道路工事中
(213)

 
 

 
 

 
 
横風注意
(214)
動物が飛び出すおそれあり
(214の2)
その他の危険
(215)

 
 

 
 

 
 


規制標識

本標識板及び柱の規格 通行止め
(301)
車両通行止め
(302)

 
 

 
 
車両進入禁止
(303)
二輪の自動車以外の
自動車通行止め(304)

 
 

 
 
大型貨物自動車等通行止め
(305)
特定の最大積載量以上の
貨物自動車等通行止め(305の2)
大型乗用自動車通行止め
(306)

 
 

 
 
二輪の自動車・原動機付
自転車通行止め(325の3)
自転車以外の軽車両
通行止め(308)
自転車通行止め
(309)

 
 

 
 

 
 
車両(組合せ)通行止め
(310)
指定方向外進行禁止
(311-A)
指定方向外進行禁止
(311-B)

 
 

 
 

 
 
指定方向外進行禁止
(311-C)
指定方向外進行禁止
(311-D)
指定方向外進行禁止
(311-E)

 
 

 
 

 
 
指定方向外進行禁止
(311-F)
車両横断禁止
(312)
転回禁止
(313)

 
 

 
 

 
 
追越しのための右側部分
はみ出し通行禁止(314)
追い越し禁止(314の2)
駐停車禁止
(315)
駐車禁止(316)
駐車余地(317)

 
 

 
 

 
 
時間制限駐車区間
(318)
危険物積載車両通行止め
(319)
重量制限
(320)

 
 

 
 

 
 
高さ制限
(321)
最大幅
(322)
最高速度(323)
特定の種類の車両の
最高速度(323の2)

 
 

 
 

 
 
最低速度
(324)
自動車専用
(325)
自転車専用
(325の2)

 
 

 
 

 
 
自転車及び歩行者専用
(325の2)
歩行者専用
(325の4)
一方通行
(326-A)

 
 

 
 

 
 
一方通行
(326-B)
車両通行区分
(327)
特定の種類の車両の
通行区分(327の2)

 
 

 
 

 
 
牽引自動車の高速自動車
国道通行区分(327の3)
専用通行帯
(327の4)
路線バス等優先通行帯
(327の5)

 
 

 
 

 
 
牽引自動車の自動車専用
道路第一通行帯通行
指定区間(327の6)
進行方向別通行区分
(327の7-A)
進行方向別通行区分
(327の7-B)

 
 

 
 

 
 
進行方向別通行区分
(327の7-C)
進行方向別通行区分
(327の7-D)
原動機付自転車の右折
方法(二段階)(327の8)

 
 

 
 

 
 
原動機付自転車の右折
方法(小回り)(327の9)
警笛鳴らせ(328)
警笛区間(328の2)
徐行(329)
先方優先道路(329の2)

 
 

 
 

 
 
一時停止(330)
前方優先道路・一時停止
(330の2)
歩行者通行止め
(331)
歩行者横断禁止
(332)

 
 

 
 

 
 


指示標識

本標識板及び柱の規格 並進可(401) 軌道敷内通行可(402)

 
 

 
 
駐車可(403) 停車可(404)

 
 

 
 
優先道路(405) 中央線(406)

 
 

 
 
停止線(406の2) 横断歩道(407-A) 横断歩道(407-B)

 
 

 
 

 
 
自転車横断帯
(407の2)
横断歩道・自転車横断帯
(407の3)
安全地帯(408)

 
 

 
 

 
 
規制予告(409-A) 規制予告(409-B)

 
 

 
 



補助標識

補助標識板及び柱の規格 距離・区域(501) 日・時間(502)

 
 

 
 
車両の種類(503-A) 車両の種類(503-B)

 
 

 
 
車両の種類(503-C) 駐車余地(504)

 
 

 
 
始まり(505-A) 始まり(505-B) 始まり(505-C)

 
 

 
 

 
 
区間内(506) 区域内(506の2) 終わり(507-A)

 
 

 
 

 
 
終わり(507-B) 終わり(507-C) 終わり(507-D)

 
 

 
 

 
 
通学路(508) 追越し禁止(508の2) 前方優先道路(509)

 
 

 
 

 
 
踏切注意(509の2) 横風注意(509の3) 動物注意(509の4)

 
 

 
 

 
 
注意(509の5) 注意事項(510) 規制理由(510の2)

 
 

 
 

 
 
方向(511) 地名(512) 始点(513)

 
 

 
 

 
 
終点(514)


 
 




備考
一 本標識板(本標識の表示板をいう。)
  (一) 表示
     案内標識(「サービス・エリアの予告」、「サービス・エリア」、「非常電話」、「非常駐車帯」、「駐車場」、「登坂車線」及び「総重量限度緩和指定道路」(「総重量限度緩和指定道路(118の3-B)」にあっては、矢形を除く。)を表示するものを除く。)「├形(又は┤形)道路交差点あり」、「右(又は左)方屈曲あり」、「右(又は左)方屈折あり」、「右(又は左)背向屈曲あり」、「右(又は左)背向屈折あり」、「右(又は左)つづら折りあり」、「落石のおそれあり」、「合流交通あり」、「車線数減少」、「幅員減少」、「上り急勾配あり」、「下り急勾配あり」及び「動物が飛び出すおそれあり」を表示する警戒標識、「車両(組合せ)通行止め」、「指定方向外進行禁止」、「時間制限駐車区間」、「重量制限」、「高さ制限」、「最大幅」、「最高速度」、「特定の種類の車両の最高速度」、「最低速度」、「一方通行(326-A)」、「車両通行区分」、「特定の種類の車両の通行区分」、「牽引自動車の高速自動車国道通行区分」、「専用通行帯」及び「進行方向別通行区分」を表示する規制標識並びに「規制予告」を表示する指示標識に係る図示の文字(数字を含む。(五)の2を除き、以下同じ。)及び記号(「時間制限駐車区間」にあっては、「60」に限る。)は、例示とする。


 高速道路等以外の道路に設置する案内標識(「著名地点(114-A・B)」、「登坂車線(117の2-A)」、「国道番号(118-A)」、「道路の通称名(119-A・B)」及び「まわり道(120-A)」を表示するものを除く。)については、ローマ字は、特に必要がない場合は、省略することができる。


 「市町村」を表示する案内標識の標示板には、必要がある場合は、日本字の左に市町村章を表す記号を表示することができる。


 「都府県」を表示する案内標識の標示板には、必要がある場合は、日本字の左に都府県章を表す記号を表示することができる。


 高速道路等以外の道路に設置する「方面、方向及び距離」、「方面及び距離」、「方面及び方向の予告」、「方面及び方向」、「方面、方向及び道路の通称名の予告」及び「方面、方向及び道路の通称名」を表示する案内標識の標示板の文字には、地名、路線番号、道路の通称名又は公共施設等の名称のいずれかを用いることができ、当該標示板の文字に公共施設等の名称を用いた場合において必要があるときは、当該標示板に公共施設等の形状等を表す記号を表示することができる。


 高速道路等以外の道路に設置する「方面、方向及び距離」、「方面及び距離」、「方面及び方向の予告」、「方面及び方向」、「方面、方向及び道路の通称名の予告」及び「方面、方向及び道路の通称名」を表示する案内標識の標示板には、必要がある場合には、次に図示したものに準じて経由路線を表示することができる。

 
 


 高速道路等に設置する「方面及び車線」、「方面及び方向」、「方面及び出口の予告」、「方面、車線及び出口の予告」及び「方面及び出口」を表示する案内標識の標示板の文字には、地名、路線番号、道路の通称名又は公共施設等の名称のいずれかを用いることができ、当該標示板の文字に公共施設等の名称を用いた場合において必要があるときは、当該標示板に公共施設等の形状等を表す記号を表示することができる。


 都市高速道路等に設置する「方面及び方向」を表示する案内標識の標示板には、必要がある場合は、次に図示したものに準じて経由路線又は方面としての路線を表示することができる。

 
 


 「方面及び距離」を表示する案内標識については、距離に関する部分は、特に必要がない場合は、省略することができる。


10  「出口」を表示する案内標識については、出口番号及び出口の名称に関する部分は、特に必要がない場合は、省略することができる。


11  「著名地点」を表示する案内標識の標示板には、必要がある場合は、日本字の左又は右に公共施設等の形状等を表す記号を表示することができる。


12  「サービス・エリアの予告」及び「サービス・エリア」を表示する案内標識の標示板の記号は、当該サービス・エリアに設置されている休憩所、給油所、自動車修理所又は駐車場を表示するものとし、標示板の配列及び文字は、例示とする。


13  高速道路等以外の道路に設置する「駐車場」を表示する案内標識の標示板には、必要がある場合は、次に図示したものに準じて便所を表す記号を表示することができる。

 
 


14  「まわり道(120-B)」を表示する案内標識の標示板の記号のうち、交通の規制を表示する記号は、規制標識に係る様式を用いるものとし、当該規制標識が表示する交通の規制が、当該道路の前方の場所において行われていることを示す。


15  児童又は幼児が小学校、幼稚園、保育所等に通うため通行する道路の区間で小学校、幼稚園、保育所等の敷地の出入口から1キロメートル以内の地点に設置する「学校、幼稚園、保育所等あり」を表示する警戒標識には、「通学路」を表示する補助標識を附置するものとする。


16  「信号機あり」を表示する警戒標識の標示板の記号は、特に必要がある場合においては、縦にすることができる。


17  「上り急勾配あり」及び「下り急勾配あり」に係る図示の数字は、当該上り急勾配又は下り急勾配の勾配の値を示す。


18  「車両(組合せ)通行止め」を表示する規制標識の標示板の記号は、「二輪の自動車以外の自動車通行止め」、「大型貨物自動車等通行止め」、「大型乗用自動車通行止め」、「二輪の自動車・原動機付自転車通行止め」、「自転車以外の軽車両通行止め」及び「自転車通行止め」を表示する規制標識に係る図示の記号を用いるものとし、その記号は当該規制標識が表示する通行の禁止に係る種類の車両を表示するものとする。


19  「特定の最大積載量以上の貨物自動車等通行止め」を表示する本標識には「車両の種類(503-C)」を表示する補助標識を、「駐車余地」を表示する本標識には「駐車余地」を表示する補助標識を、「特定の種類の車両の最高速度」を表示する本標識には「車両の種類(503-A)」を表示する補助標識を、「警笛区間」を表示する本標識には「始まり(505-A・B)」、「区間内」又は「終わり(507-B・C)」を表示する補助標識を、「追越し禁止」を表示する本標識には「追越し禁止」を表示する補助標識を、「前方優先道路」及び「前方優先道路・一時停止」を表示する本標識には「前方優先道路」を表示する補助標識を、それぞれ附置するものとする。


20  「駐停車禁止」、「駐車禁止」、「駐車余地」及び「時間制限駐車区間」に係る図示の数字(「時間制限駐車区間」にあっては、「8-20」に限る。)は、当該交通の規制が行われている時間を示す必要がある場合における当該時間の例示とし、図示の「8-20」は、8時から20時までであることを示す。


21  「時間制限駐車区間」、「時間(20に規定するものを除く。)、高さ制限」、「最大幅」、「重量制限」、「最高速度」、「特定の種類の車両の最高速度」及び「最低速度」を表示する規制標識の標示板に示される時間(20に規定するものを除く。)高さ及び幅、重量又は速度の単位は、それぞれ分、メートル、トン又はキロメートル毎時とする。


22  「横断歩道」、「自転車横断帯」及び「横断歩道・自転車横断帯」を表示する指示標識の標示板については、特に必要がある場合においては、当該標示板の記号の鏡像である記号を用いることができる。


23  「規制予告」を表示する指示標識の標示板の記号は、規制標識又は指示標識に係る様式を用いるものとし、当該規制標識又は指示標識が表示する交通の規制が、当該道路の前方の場所において行われていることを示す。


24  「規制予告」を表示する指示標識の標示板の文字は、標示板が表示する交通の規制の対象となる車両の種類を特定するため必要な事項、交通の規制が行われている日(国民の祝日に関する法律(昭和23年法律第178号)に規定する休日を示す場合にあっては、「休日」と表示する。)又は時間及び交通の規制が行われている場所までの距離を示す。
 

(二) 寸法


 寸法が図示されているものについては、図示の寸法(その単位はセンチメートルとする。)以下この備考において同じ。)を基準とする。


 高速道路等に設置する案内標識で、地名が表示されているものについては、地名を表示する文字の字数の多少により図示の横寸法を拡大し、又は縮小することができる。


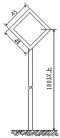
 高速道路等に設置する案内標識については、図示の寸法の3倍まで拡大することができる。


 高速道路等に設置する警戒標識については、設計速度が60キロメートル毎時以上の高速道路等に設置する場合にあっては図示の寸法の2倍まで、設計速度が100キロメートル毎時以上の高速道路等に設置する場合にあっては図示の寸法の2.5倍まで、それぞれ拡大することができる。


 高速道路等以外の道路に設置する「駐車場」を表示する案内標識については、便所を表す記号を表示する場合にあっては、図示の横寸法を図示の寸法の2.5倍まで拡大することができる。


 高速道路等以外の道路に設置する「駐車場」、「国道番号(118-A)」、「都道府県道番号(118の2-A)」、「総重量限度緩和指定道路(118の3-A・B)」及び「まわり道(120-A)」を表示する案内標識並びに警戒標識については、道路の形状又は交通の状況により特別の必要がある場合にあっては図示の寸法(5に規定するところにより図示の横寸法を拡大する場合にあっては、当該拡大後の図示の寸法)の1.3倍、1.6倍又は2倍に、それぞれ拡大することができる。


 高速道路等以外の道路に設置する「登坂車線」、「国道番号(118-B・C)」、「都道府県道番号(118の2-B・C)」及び「道路の通称名」を表示する案内標識については、道路の形状又は交通の状況により特別の必要がある場合にあっては、図示の寸法の1.5倍又は2倍に、それぞれ拡大することができる。


 高速道路等以外の道路に設置する「道路の通称名」を表示する案内標識については、表示する文字の字数により図示の横寸法(「道路の通称名(119-C)」を表示するものについては、縦寸法)を拡大することができる。


 規制標識及び指示標識については、道路の設計速度、道路の形状又は交通の状況により特別の必要がある場合にあっては、図示の寸法の2倍まで拡大し、又は図示の寸法の2分の1まで縮小することができる。


10  「車両進入禁止」を表示する規制標識の標示板については、横の直径が縦の直径の1.5倍以下である長円形の曲板を用いることができる。
 

(三) 色彩


案内標識



(1)  高速道路等に設置するもので、「入口の方向」、「入口の予告」、「非常電話」、「待避所」、「非常駐車帯」、「国道番号(118-A)」及び「まわり道」を表示するもの以外のものについては、文字、記号及び区分線を白色、地を緑色とする。ただし、「方面及び距離(106-B)」、「出口の予告」、「方面及び出口の予告」、「方面、車線及び出口の予告」、「方面及び出口」及び「出口」を表示するものの出口番号を表示する部分並びに「サービス・エリアの予告」及び「サービス・エリア」を表示するものの施設名を表示する部分については、文字を緑色、地を白色とし、「方面及び出口の予告(110-A)」及び「方面及び出口(112-A)」を表示するものの「国道番号(118-A)」を表示する部分については、文字を白色、地を青色とする。



(2)  「入口の方向」及び「入口の予告」を表示するものについては、上部の文字を緑色、地を白色とし、下部の文字及び矢印を白色、地を緑色とする。



(3)  「非常電話」を表示するものについては、文字及び地を白色、記号を黒色、わくを緑色とする。



(4)  「待避所」及び「国道番号(118-A)」を表示するものについては、文字、記号及び縁を白色、地を青色とする。



(5)  「非常駐車帯」を表示するものについては、文字及び記号を白色、地を緑色とする。



(6)  「まわり道(120-A)」を表示するものについては、文字及びわくを青色、矢印を赤色、地を白色とする。



(7)  「まわり道(120-B)」を表示するものについては、通行の禁止、制限又は指定を表示する記号は、標示板に表示する当該規制標識の種類に応じて別表第2備考一の(3)の3に規定するところによるものとし、文字、道路を表示する記号及び縁を白色、矢印を黒色、地を青色とする。



(8)  高速道路等以外の道路に設置する「市町村」、「都府県」、「著名地点」及び「主要地点」を表示するものについては、文字、記号、矢印及び縁線を青色、縁及び地を白色とする。



(9)  「方面、方向及び距離」を表示するものについては、文字、記号、矢印及び縁を白色、地を青色とする。ただし、方面として高速道路等の通称名を表示する部分については、文字、矢印及び縁を白色、地を緑色とする。



(10)  高速道路等以外の道路に設置する「方向及び距離」、「駐車場」、「登坂車線」及び「都道府県道番号(118の2-A)」を表示するものについては、文字、記号、矢印及び縁を白色、地を青色とする。



(11)  高速道路等以外の道路に設置する「方面及び方向の予告」及び「方面及び方向」を表示するものについては、文字、記号、矢印及び縁を白色、地を青色とする。ただし、方面として高速道路等の通称名を表示する場合には、次に図示したものに準じて、当該通称名を表示する部分を白色の区分線で囲むとともに、当該部分の文字を白色、地を緑色とする。

 
 



(12)  「方面、方向及び道路の通称名の予告」及び「方面、方向及び道路の通称名」を表示するものについては、記号、矢印、縁及び矢印外の文字を白色、矢印中の文字、区分線及び地を青色とする。



(13)  高速道路等以外の道路に設置する「国道番号(118-B・C)」を表示するものについては、文字、縁及び区分線を白色、地を青色、矢形を淡い赤色とする。



(14)  高速道路等以外の道路に設置する「都道府県道番号(118の2-B・C)」を表示するものについては、文字、縁及び区分線を白色、地を青色、矢形を淡い黄色(道路法第56条の規定に基づき建設大臣が指定した主要な都道府県道に係るものにあっては、淡い緑色)とする。



(15)  車両制限令第3条第1項第2号イに規定する道路管理者が指定した道路に設置する「総重量限度緩和指定道路(118の3-A)」を表示するものについては、文字、縁及び地を青色、記号及び縁線を白色とする。



(16)  車両制限令第3条第1項第2号イに規定する道路管理者が指定した道路に設置する「総重量限度緩和指定道路(118の3-B)」を表示するものについては、文字、縁及び地を青色、記号、矢形及び縁線を白色とする。



(17)  高速道路等以外の道路に設置する「道路の通称名」を表示するものについては、文字及び地を青色、矢形及び縁を白色とする。


警戒標識



 縁線、文字及び記号を黒色、縁及び地を黄色とする。ただし、「信号機あり」を表示するものについては記号の地を黒色、円形の記号を右から赤色、黄色、青色(別表第2備考一の(一)の8の規定により記号を縦にする場合においては、円形の記号を上から赤色、黄色、青色)とし、「上り急勾配あり」及び「下り急勾配あり」を表示するものについては矢印を白色とする。


規制標識



(1)  「通行止め」、「車両通行止め」、「二輪の自動車以外の自動車通行止め」、「大型貨物自動車等通行止め」、「特定の最大積載量以上の貨物自動車等通行止め」、「大型乗用自動車通行止め」、「二輪の自動車・原動機付自転車通行止め」、「自転車以外の軽車両通行止め」、「自転車通行止め」、「車両(組合せ)通行止め」、「車両横断禁止」、「転回禁止」、「追越しのための右側部分はみ出し通行禁止」、「追越し禁止」、「危険物積載車両通行止め」、「重量制限」、「高さ制限」、「最大幅」、「最高速度」、「特定の種類の車両の最高速度」、「最低速度」、「原動機付自転車の右折方法(小回り)」、「歩行者通行止め」及び「歩行者横断禁止」を表示するものについては、文字及び記号を青色、斜めの帯及びわくを赤色、縁及び地を白色とする。ただし「最高速度」及び「特定の種類の車両の最高速度」を表示するものについては、これを灯火により表示する場合においては、文字を白色又は黄色、地を黒色とすることができる。



(2)  「車両進入禁止」を表示するものについては、帯及び縁を白色、地を赤色とする。



(3)  「指定方向外進行禁止」、「時間制限駐車区間」、「自動車専用」、「自転車専用」、「自転車及び歩行者専用」、「歩行者専用」、「特定の種類の車両の通行区分」、「牽引自動車の高速自動車国道通行区分」、「専用通行帯」、「路線バス等優先通行帯」、「牽引自動車の自動車専用道路第1通行帯通行指定区間」、「進行方向別通行区分」、「原動機付自転車の右折方法(二段階)」、「警笛鳴らせ」及び「警笛区間」を表示するものについては、文字、記号及び縁を白色、地を青色とする。



(4)  「一方通行」を表示するものについては、記号及び縁線を白色、縁及び地を青色とする。



(5)  「駐停車禁止」、「駐車禁止」及び「駐車余地」を表示するものについては、斜めの帯及び枠を赤色、文字及び縁を白色、地を青色とする。



(6)  「車両通行区分」を表示するものについては、文字及び縁線を青色、縁及び地を白色とする。



(7)  「徐行」及び「前方優先道路」を表示するものについては、文字を青色、わくを赤色、縁及び地を白色とする。



(8)  「一時停止」及び「前方優先道路・一時停止」を表示するものについては、文字及び縁線を白色、縁及び地を赤色とする。


指示標識



(1)  「並進可」、「軌道敷内通行可」、「駐車可」、「停車可」、「優先道路」、「中央線」、「停止線」及び「安全地帯」を表示するものについては、文字、記号及び縁を白色、地を青色とする。



(2)  「横断歩道」、「自転車横断帯」及び「横断歩道・自転車横断帯」を表示するものについては、記号及び縁線を白色、縁及び地を青色とする。



(3)  「規制予告」を表示するものについては、記号は、標示板に表示する当該規制標識又は指示標識の種類に応じて別表第2備考一の(3)の3並びに4の(1)及び(2)に規定するところによるものとし、「規制予告(409-A)」を表示するものについては、文字及び縁線を青色、地を白色とし、「規制予告(409-B)」を表示するものについては、文字、道路を表示する記号及び縁を白色、矢印を黒色、地を青色とする。
 

(四) 文字の形


 文字の形は、次に図示したものを基準とする。

 
 
 

(五) 文字等の大きさ等


 寸法が図示されている文字及び記号の大きさは、図示の寸法を基準とする。


 高速道路等以外の道路に設置する案内標識で、「入口の方向」、「入口の予告」、「方面、方向及び道路の通称名の予告」、「方面、方向及び道路の通称名」、「著名地点(114-B)」、「非常電話」、「待避所」、「非常駐車帯」、「駐車場」、「登坂車線」、「国道番号」、「都道府県道番号」、「総重量限度緩和指定道路」、「道路の通称名」及び「まわり道」を表示するもの以外のものの文字の大きさは、道路の設計速度に応じ、次の表の右欄に掲げる値(ローマ字にあっては、その2分の1の値)を基準とする。ただし、必要がある場合にあっては、これを1.5倍、2倍、2.5倍又は3倍に、それぞれ拡大することができる。



設計速度(単位 キロメートル毎時) 文字の大きさ(単位 センチメートル)
70以上 30
40、50又は60 20
30以下 10


 「方面、方向及び道路の通称名の予告」及び「方面、方向及び道路の通称名」を表示する案内標識については、矢印外の文字の大きさは、2の規定によるものとし、矢印中の文字の大きさは、矢印外の文字の大きさの0.6倍の大きさとする。


 「著名地点(114-B)」を表示する案内標識の文字の大きさは、10センチメートルを標準とする。


 「市町村」、「都府県」並びに「方面、方向及び距離」、「方面及び距離」、「方面及び車線」、「方面及び方向の予告」、「方面及び方向」、「方面、方向及び道路の通称名の予告」、「方面、方向及び道路の通称名」、「方面及び出口の予告」、「方面、車線及び出口の予告」、「方面及び出口」及び「著名地点」を表示する案内標識に、それぞれ市町村章、都府県章及び公共施設等の形状等を表す記号を表示する場合の当該記号の大きさは、日本字の大きさの1.7倍以下の大きさとする。


 都市高速道路等に設置する「方面及び方向」を表示する案内標識に路線を表す記号を表示する場合の当該記号の大きさは、経由路線を表す記号については日本字の大きさの1.6倍以下、方面としての路線を表す記号については日本字の大きさの0.9倍以下の大きさとする。


 高速道路等以外の道路に設置する「駐車場」を表示する案内標識に便所を表す記号を表示する場合の当該記号の大きさは、駐車場を表示する記号の0.7倍以下の大きさとする。


 縁、縁線及び区分線の太さは、次の寸法を基準とする。



(1) 案内標識




 縁は、高速道路等以外の道路に設置するもので、「待避所」、「駐車場」及び「まわり道(120-B)」を表示するものについては9ミリメートル、「国道番号(118-A)」、「都道府県道番号(118の2-A)」及び「総重量限度緩和指定道路(118の3-A・B)」を表示するものについては16ミリメートル、「登坂車線」を表示するものについては10ミリメートル、「国道番号(118-B・C)」、「都道府県道番号(118の2-B・C)」及び「道路の通称名」を表示するものについては8ミリメートル、その他のものについては日本字の大きさの20分の1以上の太さとし、縁線及び区分線は、日本字の大きさの20分の1以上の太さとする。



(2) 警戒標識




 縁及び縁線は、12ミリメートルとする。



(3) 規制標識




 縁は15ミリメートルとし、縁線は「一時停止」、「前方優先道路・一時停止」及び「車両通行区分」を表示するものについては15ミリメートル、「一方通行」を表示するものについては12ミリメートルとする。



(4) 指示標識




 縁は、「横断歩道」、「自転車横断帯」及び「横断歩道・自転車横断帯」を表示するものについては12ミリメートル、「規制予告(409-B)」を表示するものについては9ミリメートル、その他のものについては15ミリメートルとし、縁線は12ミリメートル、「規制予告(409-B)」を表示するものについては9ミリメートルとする。
 

(六) 車両の種類の略称


 規制標識に車両の種類を記載するときは、次の表の上欄に掲げる車両について、それぞれ同表の下欄に掲げる略称を用いることができる。


車両の種類 略 称
大型自動車 大型
普通自動車 普通
大型特殊自動車 大特
大型自動二輪車及び普通自動二輪車 自二輪
長さが3.40メートル以下、幅が1.48メートル以下、高さが2.00メートル以下の普通自動車(内燃機関を原動機とする自動車にあっては、総排気量が0.660リットル以下のものに限る。)
小型特殊自動車 小特
原動機付自転車 原付
二輪の自動車及び原動機付自転車 二輪
普通自転車 自転車
トロリーバス トロリー
専ら人を運搬する構造の自動車 乗用
大型乗用自動車 バス
乗車定員が30人以上の大型乗用自動車 大型バス
大型バス以外の大型乗用自動車 マイクロ
道路運送法(昭和26年法律第183号)第3条第1号イに規定する一般乗合旅客自動車運送事業の用に供する自動車 路線バス
普通乗用自動車 普乗
道路運送法第3条第1号ハに規定する一般乗用旅客自動車運送事業の用に供する自動車 タクシー
大型乗用自動車以外の大型自動車及び普通乗用自動車以外の普通自動車 貨物
大型乗用自動車以外の大型自動車 大貨
大型乗用自動車以外の大型自動車及び大型特殊自動車 大貨等
普通乗用自動車以外の普通自動車 普貨
重被牽引車を牽引している牽引自動車 けん引
 
 
二 補助標識板(補助標識の標示板をいう。)

(一) 表示


 補助標識(「始まり(505-B・C)」、「区域内」、「終わり(507-B〜D)」、「通学路」、「追越し禁止」、「前方優先道路」、「踏切注意」、「横風注意」、「動物注意」、「注意」、「始点」及び「終点」を表示するものを除く。)に係る図示の文字及び記号(「車両の種類(503-C)」にあっては、「3」に限る。)は、例示とする。


 「日・時間」を表示する補助標識において国民の祝日に関する法律に規定する休日を示す場合にあっては、「休日」と表示する。


 「日・時間」に係る図示の「8-20」は、8時から20時までであることを示す。


 「車両の種類(503-B)」を表示する補助標識の標示板の記号は、「二輪の自動車以外の自動車通行止め」、「大型貨物自動車等通行止め」、「大型乗用自動車通行止め」、「二輪の自動車・原動機付自転車通行止め」、「自転車以外の軽車両通行止め」及び「自転車通行止め」を表示する規制標識に係る図示の記号(当該記号の鏡像である記号を含む。)を用いるものとし、その記号は当該規制標識が表示する通行の禁止に係る種類の車両を表示するものとする。


 「車両の種類(503-C)」を表示する補助標識の標示板に示される重量の単位は、トンとする。
 

(二) 寸法


 図示の寸法を基準とする。


 補助標識は、その附置される本標識板の拡大率又は縮小率と同じ比率で拡大し、又は縮小することができる。
 

(三) 色彩


 地を白色、矢印を用いるときはこれを赤色又は黒色、文字又は矢印以外の記号を用いるときはこれを黒色とする。ただし、「終わり(507-C)」を表示する補助標識については、斜めの帯及び枠を青色、縁及び地を白色とする。


 高速道路等に設置する案内標識に附置する場合にあっては、1の本文の規定にかかわらず、文字及び矢印を緑色、地を白色とする。


 灯火により表示する場合において、別表第2備考一の(三)の3の(1)のただし書の規定による色彩を用いた規制標識に附置するときにあっては、1の本文の規定にかかわらず、文字及び記号を白色又は黄色、地を黒色とすることができる。
 

(四) 文字の形


 一の(四)を準用する。
 

(五) 車両の種類の略称


 車両の種類を表示するときは、一の(六)の規定に準じて略称を用いることができる。
 
 
三 柱

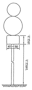
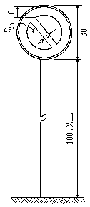
(一) 寸法


 図示の寸法を基準とする。ただし、「著名地点(114-B)」を表示する案内標識を設置する場合には、必要があるときは、路面から標示板の下端までの高さを100センチメートルまで低くすることができる。
 

(二) 色彩


 原則として、灰色又は白色とする。
 
 
四 その他

(一) 取付け方法等


 本標識板及び補助標識板の取付け方は、図示の取付け方を基準とする。ただし、必要があり、かつ、適当と認められる場合においては、次の図の例によることができる。

 
 


 同一場所に2以上の道路標識を設置する場合においては、その本標識板及び補助標識板を1の柱に取り付けることができる。


 2により1の柱に2以上の本標識板が上下に取り付けられる場合で、それぞれの本標識が表示する禁止、制限又は指定の区間の終りを「終わり(507-C)」を表示する補助標識によって示す必要があるときは、下方の本標識に係る補助標識は省略するものとする。


 道路標識を設置する場合において、1から3までの規定によって設置することが適当でないと認められるときは、標示板を信号機、電柱その他工作物に取り付けることができる。


 区域を定めて行う交通の規制を表示する道路標識(以下「区域規制標識」という。)を設置する場合には、当該区域規制標識に白色又は灰色の長方形の背板を設けることができる。


 5により1の背板を設けて2以上の区域規制標識を上下に設置する場合で、それぞれの区域規制標識に係る本標識が表示する禁止、制限又は指定の区域の始まり、区域内又は区域の終わりを「始まり(505-C)」、「区域内」又は「終わり(507-D)」を表示する補助標識によって示す必要があるときは、当該本標識のうち上方のものに係る補助標識は省略するものとする。


 可変式の道路標識を設置する場合には、当該道路標識に白色又は灰色の正方形又は長方形の背板を設けることができる。
 

(二) 反射材料等


 道路標識には原則として反射材料を用い、又は反射装置若しくは夜間照明装置を施すものとする。